Сертификация

Характеристики
В таблице готовых решений указаны характеристики конкретного изделия, обусловленные набором компонентов, входящих в состав клеммной коробки.
Для металлических кабельных вводов указан материал латунь. Возможны к установке кабельные вводы соответствующего типа из никелированной латуни, нержавеющей стали или алюминия. Необходимый материал кабельных вводов указывается при заказе. При этом будет изменено обозначение изделия.
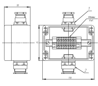
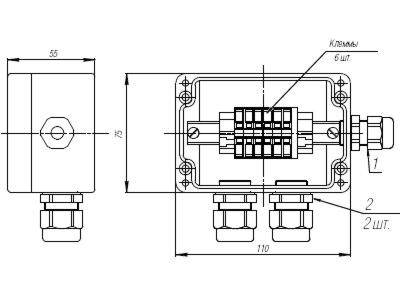
04 |
Обозначение: |
|||
![]() |
||||
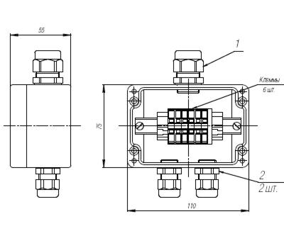
| Место установки | Зона 1, 2 | |||
| Маркировка взрывозащиты | 2ЕхeIIT6 | |||
| Защита от внешних воздействий | IP66 | |||
| Температура окружающей среды | -55˚C до +40˚C | |||
| Материал кабельного ввода | Латунь | |||
| Сечение подключаемых проводников | 0,5 — 2,5 мм2 | |||
| Номер кабельного ввода | Номер исполнения | |||
| Позиция 1 | Позиция 2 | Клеммы пружинные |
Клеммы винтовые |
|
| 4 | 4 | 025 | 026 | |
| 4 | 5 | 027 | 028 | |
| 5 | 4 | 029 | 030 | |
| 5 | 5 | 031 | 032 | |
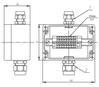
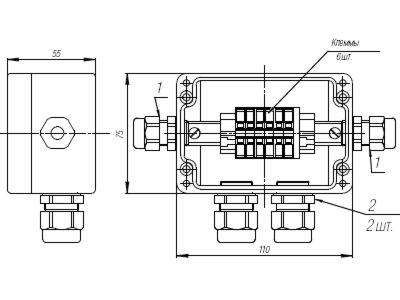
05 |
Обозначение: |
|||
![]() |
||||
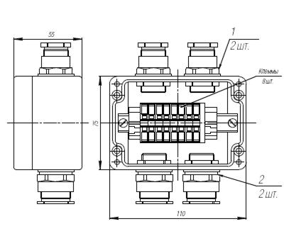
| Место установки | Зона 1, 2 | |||
| Маркировка взрывозащиты | 2ЕхeIIT6 | |||
| Защита от внешних воздействий | IP67 | |||
| Температура окружающей среды | -20˚C до +40˚C | |||
| Материал кабельного ввода | Пластик (полиамид РА) | |||
| Сечение подключаемых проводников | 0,5 — 2,5 мм2 | |||
| Номер кабельного ввода | Номер исполнения | |||
| Позиция 1 | Позиция 2 | Клеммы пружинные |
Клеммы винтовые |
|
| 1 | 1 | 033 | 034 | |
| 1 | 2 | 035 | 036 | |
| 2 | 1 | 037 | 038 | |
| 2 | 2 | 039 | 040 | |
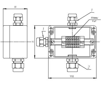
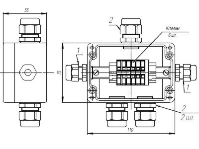
06 |
Обозначение: |
|||
![]() |
||||
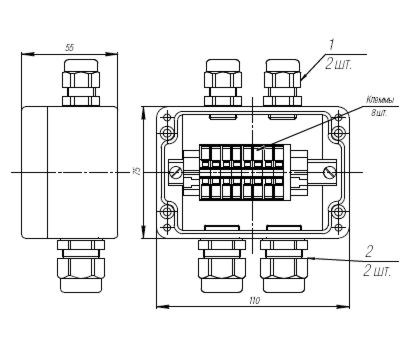
| Место установки | Зона 1, 2 | |||
| Маркировка взрывозащиты | 2ЕхeIIT6 | |||
| Защита от внешних воздействий | IP67 | |||
| Температура окружающей среды | -20˚C до +40˚C | |||
| Материал кабельного ввода | Пластик (полиамид РА) | |||
| Сечение подключаемых проводников | 0,5 — 2,5 мм2 | |||
| Номер кабельного ввода | Номер исполнения | |||
| Позиция 1 | Позиция 2 | Клеммы пружинные |
Клеммы винтовые |
|
| 1 | 1 | 041 | 042 | |
| 1 | 2 | 043 | 044 | |
| 2 | 1 | 045 | 046 | |
| 2 | 2 | 047 | 048 | |
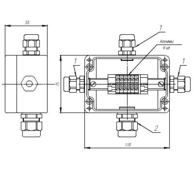
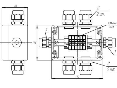
07 |
Обозначение: |
|||
![]() |
||||
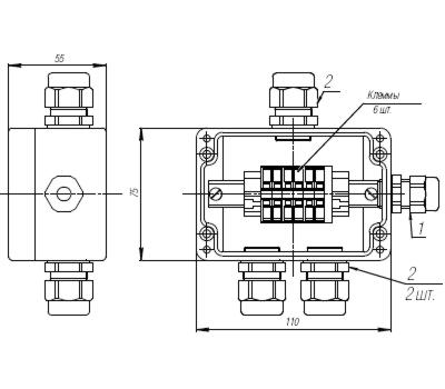
| Место установки | Зона 1, 2 | |||
| Маркировка взрывозащиты | 2ЕхeIIT6 | |||
| Защита от внешних воздействий | IP67 | |||
| Температура окружающей среды | -20˚C до +40˚C | |||
| Материал кабельного ввода | Пластик (полиамид РА) | |||
| Сечение подключаемых проводников | 0,5 — 2,5 мм2 | |||
| Номер кабельного ввода | Номер исполнения | |||
| Позиция 1 | Позиция 2 | Клеммы пружинные |
Клеммы винтовые |
|
| 1 | 1 | 049 | 050 | |
| 1 | 2 | 051 | 052 | |
| 2 | 1 | 053 | 054 | |
| 2 | 2 | 055 | 066 | |
08 |
Обозначение: |
|||
![]() |
||||
| Место установки | Зона 1, 2 | |||
| Маркировка взрывозащиты | 2ЕхeIIT6 | |||
| Защита от внешних воздействий | IP66 | |||
| Температура окружающей среды | -55˚C до +40˚C | |||
| Материал кабельного ввода | Латунь | |||
| Сечение подключаемых проводников | 0,5 — 2,5 мм2 | |||
| Номер кабельного ввода | Номер исполнения | |||
| Позиция 1 | Позиция 2 | Клеммы пружинные |
Клеммы винтовые |
|
| 4 | 4 | 067 | 068 | |
| 4 | 5 | 069 | 070 | |
| 5 | 4 | 071 | 072 | |
| 5 | 5 | 073 | 074 | |
09 |
Обозначение: |
|||
![]() |
||||
| Место установки | Зона 1, 2 | |||
| Маркировка взрывозащиты | 2ЕхeIIT6 | |||
| Защита от внешних воздействий | IP67 | |||
| Температура окружающей среды | -20˚C до +40˚C | |||
| Материал кабельного ввода | Пластик (полиамид РА) | |||
| Сечение подключаемых проводников | 0,5 — 2,5 мм2 | |||
| Номер кабельного ввода | Номер исполнения | |||
| Позиция 1 | Позиция 2 | Клеммы пружинные |
Клеммы винтовые |
|
| 1 | 1 | 075 | 076 | |
| 1 | 2 | 077 | 078 | |
| 2 | 1 | 079 | 080 | |
| 2 | 2 | 081 | 082 | |
10 |
Обозначение: |
|||
![]() |
||||
| Место установки | Зона 1, 2 | |||
| Маркировка взрывозащиты | 2ЕхeIIT6 | |||
| Защита от внешних воздействий | IP66 | |||
| Температура окружающей среды | -55˚C до +40˚C | |||
| Материал кабельного ввода | Латунь | |||
| Сечение подключаемых проводников | 0,5 — 2,5 мм2 | |||
| Номер кабельного ввода | Номер исполнения | |||
| Позиция 1 | Позиция 2 | Клеммы пружинные |
Клеммы винтовые |
|
| 4 | 4 | 083 | 084 | |
| 4 | 5 | 085 | 086 | |
| 5 | 4 | 087 | 088 | |
| 5 | 5 | 089 | 090 | |
11 |
Обозначение: |
|||
![]() |
||||
| Место установки | Зона 1, 2 | |||
| Маркировка взрывозащиты | 2ЕхeIIT6 | |||
| Защита от внешних воздействий | IP67 | |||
| Температура окружающей среды | -20˚C до +40˚C | |||
| Материал кабельного ввода | Пластик (полиамид РА) | |||
| Сечение подключаемых проводников | 0,5 — 2,5 мм2 | |||
| Номер кабельного ввода | Номер исполнения | |||
| Позиция 1 | Позиция 2 | Клеммы пружинные |
Клеммы винтовые |
|
| 1 | 1 | 091 | 092 | |
| 1 | 2 | 093 | 094 | |
| 2 | 1 | 095 | 096 | |
| 2 | 2 | 097 | 098 | |
12 |
Обозначение: |
|||
![]() |
||||
| Место установки | Зона 1, 2 | |||
| Маркировка взрывозащиты | 2ЕхeIIT6 | |||
| Защита от внешних воздействий | IP67 | |||
| Температура окружающей среды | -20˚C до +40˚C | |||
| Материал кабельного ввода | Пластик (полиамид РА) | |||
| Сечение подключаемых проводников | 0,5 — 2,5 мм2 | |||
| Номер кабельного ввода | Номер исполнения | |||
| Позиция 1 | Позиция 2 | Клеммы пружинные |
Клеммы винтовые |
|
| 1 | 1 | 099 | 100 | |
| 1 | 2 | 101 | 102 | |
| 2 | 1 | 103 | 104 | |
| 2 | 2 | 105 | 106 | |
13 |
Обозначение: |
|||
![]() |
||||
| Место установки | Зона 1, 2 | |||
| Маркировка взрывозащиты | 2ЕхeIIT6 | |||
| Защита от внешних воздействий | IP67 | |||
| Температура окружающей среды | -20˚C до +40˚C | |||
| Материал кабельного ввода | Пластик (полиамид РА) | |||
| Сечение подключаемых проводников | 0,5 — 2,5 мм2 | |||
| Номер кабельного ввода | Номер исполнения | |||
| Позиция 1 | Позиция 2 | Клеммы пружинные |
Клеммы винтовые |
|
| 1 | 1 | 107 | 108 | |
| 1 | 2 | 109 | 110 | |
14 |
Обозначение: |
|||
![]() |
||||
| Место установки | Зона 1, 2 | |||
| Маркировка взрывозащиты | 2ЕхeIIT6 | |||
| Защита от внешних воздействий | IP67 | |||
| Температура окружающей среды | -20˚C до +40˚C | |||
| Материал кабельного ввода | Пластик (полиамид РА) | |||
| Сечение подключаемых проводников | 0,5 — 2,5 мм2 | |||
| Номер кабельного ввода | Номер исполнения | |||
| Позиция 1 | Позиция 2 | Клеммы пружинные |
Клеммы винтовые |
|
| 1 | 1 | 111 | 112 | |
| 1 | 2 | 113 | 114 | |
| 2 | 1 | 115 | 116 | |
| 2 | 2 | 117 | 118 | |
15 |
Обозначение: |
|||
![]() |
||||
| Место установки | Зона 1, 2 | |||
| Маркировка взрывозащиты | 2ЕхeIIT6 | |||
| Защита от внешних воздействий | IP67 | |||
| Температура окружающей среды | -20˚C до +40˚C | |||
| Материал кабельного ввода | Пластик (полиамид РА) | |||
| Сечение подключаемых проводников | 0,5 — 2,5 мм2 | |||
| Номер кабельного ввода | Номер исполнения | |||
| Позиция 1 | Позиция 2 | Клеммы пружинные |
Клеммы винтовые |
|
| 1 | 1 | 119 | 120 | |
| 1 | 2 | 121 | 122 | |
16 |
Обозначение: |
|||
![]() |
||||
| Место установки | Зона 1, 2 | |||
| Маркировка взрывозащиты | 2ЕхeIIT6 | |||
| Защита от внешних воздействий | IP67 | |||
| Температура окружающей среды | -20˚C до +40˚C | |||
| Материал кабельного ввода | Пластик (полиамид РА) | |||
| Сечение подключаемых проводников | 0,5 — 2,5 мм2 | |||
| Номер кабельного ввода | Номер исполнения | |||
| Позиция 1 | Позиция 2 | Клеммы пружинные |
Клеммы винтовые |
|
| 1 | 1 | 123 | 124 | |
| 1 | 2 | 125 | 126 | |
| 2 | 1 | 127 | 128 | |
| 2 | 2 | 129 | 130 | |














