Сертификация

Характеристики
В таблице готовых решений указаны характеристики конкретного изделия, обусловленные набором компонентов, входящих в состав поста управления.
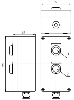
12 |
Обозначение: |
||
![]() |
|||
| Место установки | Зона 1, 2 | ||
| Маркировка взрывозащиты | 2ЕхedIICT4 | ||
| Защита от внешних воздействий | IP66 | ||
| Температура окружающей среды | -55˚C до +60˚C | ||
| Номинальное напряжение, В | 240 | ||
| Номинальный ток, А | 10 | ||
| Масса, кг | не более 1,5 | ||
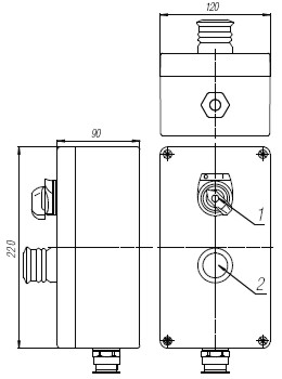
| Позиция | Схема | Описание | |
| 1 | ![]() |
Функциональная группа в составе: | |
| кнопка без фиксации, зелёная | |||
| контактная группа 2НР | |||
| 2 | ![]() |
Функциональная группа в составе: | |
| кнопка без фиксации, красная | |||
| контактная группа 2НЗ | |||
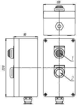
13 |
Обозначение: |
||
![]() |
|||
| Место установки | Зона 1, 2 | ||
| Маркировка взрывозащиты | 2ЕхedIICT4 | ||
| Защита от внешних воздействий | IP66 | ||
| Температура окружающей среды | -55˚C до +60˚C | ||
| Номинальное напряжение, В | 240 | ||
| Номинальный ток, А | 10 | ||
| Масса, кг | не более 1,5 | ||
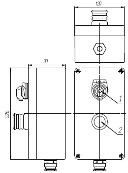
| Позиция | Схема | Описание | |
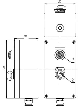
| 1 | ![]() |
Функциональная группа в составе: | |
| светофильтр зелёный | |||
| световой модуль (сигнальная лампа) | |||
| 2 | ![]() |
Функциональная группа в составе: | |
| кнопка без фиксации, зелёная | |||
| контактная группа 2НР | |||
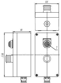
14 |
Обозначение: |
||
![]() |
|||
| Место установки | Зона 1, 2 | ||
| Маркировка взрывозащиты | 2ЕхedIICT4 | ||
| Защита от внешних воздействий | IP66 | ||
| Температура окружающей среды | -55˚C до +60˚C | ||
| Номинальное напряжение, В | 240 | ||
| Номинальный ток, А | 10 | ||
| Масса, кг | не более 1,5 | ||
| Позиция | Схема | Описание | |
| 1 | ![]() |
Функциональная группа в составе: | |
| светофильтр красный | |||
| световой модуль (сигнальная лампа) | |||
| 2 | ![]() |
Функциональная группа в составе: | |
| кнопка грибовидной формы, красного цвета, с фиксацией при нажатии, освобождаемая поворотом | |||
| контактная группа 2НЗ | |||
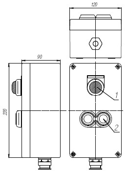
15 |
Обозначение: |
||
![]() |
|||
| Место установки | Зона 1, 2 | ||
| Маркировка взрывозащиты | 2ЕхedIICT4 | ||
| Защита от внешних воздействий | IP66 | ||
| Температура окружающей среды | -55˚C до +60˚C | ||
| Номинальное напряжение, В | 240 | ||
| Номинальный ток, А | 10 | ||
| Масса, кг | не более 1,5 | ||
| Позиция | Схема | Описание | |
| 1 | ![]() |
Функциональная группа в составе: | |
| светофильтр зеленый | |||
| световой модуль (сигнальная лампа) | |||
| 2 | ![]() |
Функциональная группа в составе: | |
| кнопка сдвоенная без фиксации, зелёная и красная | |||
| контактная группа 1НР + 1НЗ | |||
16 |
Обозначение: |
||
![]() |
|||
| Место установки | Зона 1, 2 | ||
| Маркировка взрывозащиты | 2ЕхedIICT4 | ||
| Защита от внешних воздействий | IP66 | ||
| Температура окружающей среды | -55˚C до +60˚C | ||
| Номинальное напряжение, В | 240 | ||
| Номинальный ток, А | 10 | ||
| Масса, кг | не более 1,5 | ||
| Позиция | Схема | Описание | |
| 1 | ![]() |
Функциональная группа в составе: | |
| кнопка сдвоенная без фиксации, зелёная и красная | |||
| контактная группа 1НР + 1НЗ | |||
| 2 | ![]() |
Функциональная группа в составе: | |
| кнопка грибовидной формы, красного цвета, с фиксацией при нажатии, освобождаемая поворотом | |||
| контактная группа 2НЗ | |||
17 |
Обозначение: |
||
![]() |
|||
| Место установки | Зона 1, 2 | ||
| Маркировка взрывозащиты | 2ЕхedIICT4 | ||
| Защита от внешних воздействий | IP66 | ||
| Температура окружающей среды | -55˚C до +60˚C | ||
| Номинальное напряжение, В | 240 | ||
| Номинальный ток, А | 10 | ||
| Масса, кг | не более 1,5 | ||
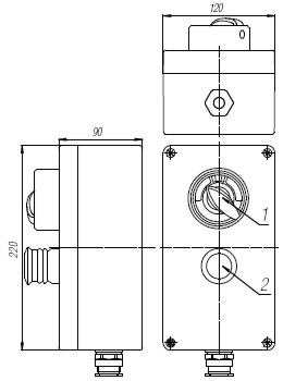
| Позиция | Схема | Описание | |
| 1 | ![]() |
Функциональная группа в составе: | |
| переключатель с фиксацией (селектор), 2 пложения: 0 — I | |||
| контактная группа 1НР + 1НЗ | |||
| 2 | ![]() |
Функциональная группа в составе: | |
| кнопка грибовидной формы, красного цвета, с фиксацией при нажатии, освобождаемая поворотом | |||
| контактная группа 2НЗ | |||
18 |
Обозначение: |
||
![]() |
|||
| Место установки | Зона 1, 2 | ||
| Маркировка взрывозащиты | 2ЕхedIICT4 | ||
| Защита от внешних воздействий | IP66 | ||
| Температура окружающей среды | -55˚C до +60˚C | ||
| Номинальное напряжение, В | 240 | ||
| Номинальный ток, А | 10 | ||
| Масса, кг | не более 1,5 | ||
| Позиция | Схема | Описание | |
| 1 | ![]() |
Функциональная группа в составе: | |
| переключатель с фиксацией (селектор), 3 положения: I — 0 — II | |||
| контактная группа 2НР | |||
| 2 | ![]() |
Функциональная группа в составе: | |
| кнопка грибовидной формы, красного цвета, с фиксацией при нажатии, освобождаемая поворотом | |||
| контактная группа 2НЗ | |||
19 |
Обозначение: |
||
![]() |
|||
| Место установки | Зона 1, 2 | ||
| Маркировка взрывозащиты | 2ЕхedIICT4 | ||
| Защита от внешних воздействий | IP66 | ||
| Температура окружающей среды | -55˚C до +60˚C | ||
| Номинальное напряжение, В | 240 | ||
| Номинальный ток, А | 10 | ||
| Масса, кг | не более 1,5 | ||
| Позиция | Схема | Описание | |
| 1 | ![]() |
Функциональная группа в составе: | |
| переключатель с фиксацией, защитный бортик (селектор), 2 положения: 0 — I | |||
| контактная группа 1НР + 1НЗ | |||
| 2 | ![]() |
Функциональная группа в составе: | |
| кнопка грибовидной формы, красного цвета, с фиксацией при нажатии, освобождаемая поворотом | |||
| контактная группа 2НЗ | |||
20 |
Обозначение: |
||
|
|||
| Место установки | Зона 1, 2 | ||
| Маркировка взрывозащиты | 2ЕхedIICT4 | ||
| Защита от внешних воздействий | IP66 | ||
| Температура окружающей среды | -55˚C до +60˚C | ||
| Номинальное напряжение, В | 240 | ||
| Номинальный ток, А | 10 | ||
| Масса, кг | не более 1,5 | ||
| Позиция | Схема | Описание | |
| 1 | ![]() |
Функциональная группа в составе: | |
| светофильтр зеленого цвета | |||
| световой модуль, к зажимама Х1 и Х2 подключается по 2 проводника сечением до 2,5 мм. кв. | |||
| 2 | ![]() |
Функциональная группа в составе: | |
| переключатель с фиксацией (селектор положений — 2 положения: 0 — I) | |||
| контактная группа 1НР + 2НЗ, к зажимам 1.3, 1.4, 1.1, 1.2 подключается по 2 проводника сечением до 2,5 мм. кв. | |||
21 |
Обозначение: |
||
![]() |
|||
| Место установки | Зона 1, 2 | ||
| Маркировка взрывозащиты | 2ЕхedIICT4 | ||
| Защита от внешних воздействий | IP66 | ||
| Температура окружающей среды | -55˚C до +60˚C | ||
| Номинальное напряжение, В | 240 | ||
| Номинальный ток, А | 10 | ||
| Масса, кг | не более 1,5 | ||
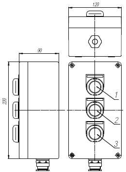
| Позиция | Схема | Описание | |
| 1 | ![]() |
Функциональная группа в составе: | |
| кнопка без фиксации, зелёная | |||
| контактная группа 2НР | |||
| 2 | ![]() |
Функциональная группа в составе: | |
| кнопка без фиксации, жёлтая | |||
| контактная группа 1НР + 1НЗ | |||
| 3 | ![]() |
Функциональная группа в составе: | |
| кнопка без фиксации, красная | |||
| контактная группа 2НЗ | |||
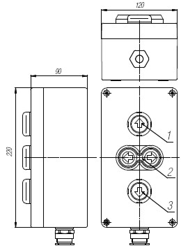
22 |
Обозначение: |
||
![]() |
|||
| Место установки | Зона 1, 2 | ||
| Маркировка взрывозащиты | 2ЕхedIICT4 | ||
| Защита от внешних воздействий | IP66 | ||
| Температура окружающей среды | -55˚C до +60˚C | ||
| Номинальное напряжение, В | 240 | ||
| Номинальный ток, А | 10 | ||
| Масса, кг | не более 1,5 | ||
| Позиция | Схема | Описание | |
| 1 | ![]() |
Функциональная группа в составе: | |
| кнопка без фиксации, зелёная | |||
| контактная группа 2НР | |||
| 2 | ![]() |
Функциональная группа в составе: | |
| кнопка без фиксации, жёлтая | |||
| контактная группа 1НР + 1НЗ | |||
| 3 | ![]() |
Функциональная группа в составе: | |
| кнопка без фиксации, красная | |||
| контактная группа 2НЗ | |||
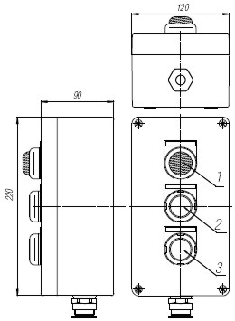
23 |
Обозначение: |
||
![]() |
|||
| Место установки | Зона 1, 2 | ||
| Маркировка взрывозащиты | 2ЕхedIICT4 | ||
| Защита от внешних воздействий | IP66 | ||
| Температура окружающей среды | -55˚C до +60˚C | ||
| Номинальное напряжение, В | 240 | ||
| Номинальный ток, А | 10 | ||
| Масса, кг | не более 1,5 | ||
| Позиция | Схема | Описание | |
| 1 | ![]() |
Функциональная группа в составе: | |
| светофильтр красный | |||
| световой модуль (сигнальная лампа) | |||
| 2 | ![]() |
Функциональная группа в составе: | |
| кнопка без фиксации, зелёная | |||
| контактная группа 1НР + 1НЗ | |||
| 3 | ![]() |
Функциональная группа в составе: | |
| кнопка без фиксации, красная | |||
| контактная группа 1НР + 1НЗ | |||
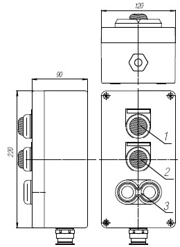
24 |
Обозначение: |
||
![]() |
|||
| Место установки | Зона 1, 2 | ||
| Маркировка взрывозащиты | 2ЕхedIICT4 | ||
| Защита от внешних воздействий | IP66 | ||
| Температура окружающей среды | -55˚C до +60˚C | ||
| Номинальное напряжение, В | 240 | ||
| Номинальный ток, А | 10 | ||
| Масса, кг | не более 1,5 | ||
| Позиция | Схема | Описание | |
| 1 | ![]() |
Функциональная группа в составе: | |
| светофильтр, красный | |||
| световой модуль (сигнальная лампа) | |||
| 2 | ![]() |
Функциональная группа в составе: | |
| кнопка сдвоенная без фиксации, зеленая и красная | |||
| контактная группа 1НР + 1НЗ | |||
| 3 | ![]() |
Функциональная группа в составе: | |
| кнопка грибовидной формы, красного цвета, с фиксацией при нажатии, освобождаемая поворотом | |||
| контактная группа 2НЗ | |||
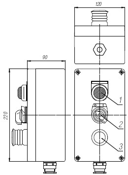
25 |
Обозначение: |
||
![]() |
|||
| Место установки | Зона 1, 2 | ||
| Маркировка взрывозащиты | 2ЕхedIICT4 | ||
| Защита от внешних воздействий | IP66 | ||
| Температура окружающей среды | -55˚C до +60˚C | ||
| Номинальное напряжение, В | 240 | ||
| Номинальный ток, А | 10 | ||
| Масса, кг | не более 1,5 | ||
| Позиция | Схема | Описание | |
| 1 | ![]() |
Функциональная группа в составе: | |
| светофильтр зелёный | |||
| световой модуль (сигнальная лампа) | |||
| 2 | ![]() |
Функциональная группа в составе: | |
| светофильтр красный | |||
| световой модуль (сигнальная лампа) | |||
| 3 | ![]() |
Функциональная группа в составе: | |
| кнопка сдвоенная без фиксации, зеленая и красная | |||
| контактная группа 2НР | |||
26 |
Обозначение: |
||
![]() |
|||
| Место установки | Зона 1, 2 | ||
| Маркировка взрывозащиты | 2ЕхedIICT4 | ||
| Защита от внешних воздействий | IP66 | ||
| Температура окружающей среды | -55˚C до +60˚C | ||
| Номинальное напряжение, В | 240 | ||
| Номинальный ток, А | 10 | ||
| Масса, кг | не более 1,5 | ||
| Позиция | Схема | Описание | |
| 1 | ![]() |
Функциональная группа в составе: | |
| светофильтр красный | |||
| световой модуль (сигнальная лампа) | |||
| 2 | ![]() |
Функциональная группа в составе: | |
| кнопка сдвоенная без фиксации, зелёная и красная | |||
| контактная группа 1НР + 1НЗ | |||
| 3 | ![]() |
Функциональная группа в составе: | |
| кнопка грибовидной формы, красного цвета, с фиксацией при нажатии, освобождаемая ключом | |||
| контактная группа 2НЗ | |||
27 |
Обозначение: |
||
![]() |
|||
| Место установки | Зона 1, 2 | ||
| Маркировка взрывозащиты | 2ЕхedIICT4 | ||
| Защита от внешних воздействий | IP66 | ||
| Температура окружающей среды | -55˚C до +60˚C | ||
| Номинальное напряжение, В | 240 | ||
| Номинальный ток, А | 10 | ||
| Масса, кг | не более 1,5 | ||
| Позиция | Схема | Описание | |
| 1 | ![]() |
Функциональная группа в составе: | |
| светофильтр красный | |||
| световой модуль (сигнальная лампа) | |||
| 2 | ![]() |
Функциональная группа в составе: | |
| переключатель с фиксацией (селектор), 2 положения: 0 — I | |||
| контактная группа 1НР + 1НЗ | |||
| 3 | ![]() |
Функциональная группа в составе: | |
| кнопка грибовидной формы, красного цвета, с фиксацией при нажатии, освобождаемая поворотом | |||
| контактная группа 2НЗ | |||
28 |
Обозначение: |
||
![]() |
|
||
| Место установки | Зона 1, 2 | ||
| Маркировка взрывозащиты | 2ЕхedIICT4 | ||
| Защита от внешних воздействий | IP66 | ||
| Температура окружающей среды | -55˚C до +60˚C | ||
| Номинальное напряжение, В | 240 | ||
| Номинальный ток, А | 10 | ||
| Масса, кг | не более 1,5 | ||
| Позиция | Схема | Описание | |
| 1 | ![]() |
Функциональная группа в составе: | |
| светофильтр зелёный | |||
| световой модуль (сигнальная лампа) | |||
| 2 | ![]() |
Функциональная группа в составе: | |
| кнопка сдвоенная без фиксации со стрелками | |||
| контактная группа 2НР | |||
| 3 | ![]() |
Функциональная группа в составе: | |
| переключатель с фиксацией (селектор), 2 положения: 0 — I | |||
| контактная группа 1НР + 1НЗ | |||
29 |
Обозначение: |
||
![]() |
|||
| Место установки | Зона 1, 2 | ||
| Маркировка взрывозащиты | 2ЕхedIICT4 | ||
| Защита от внешних воздействий | IP66 | ||
| Температура окружающей среды | -55˚C до +60˚C | ||
| Номинальное напряжение, В | 240 | ||
| Номинальный ток, А | 10 | ||
| Масса, кг | не более 1,5 | ||
| Позиция | Схема | Описание | |
| 1 | ![]() |
Функциональная группа в составе: | |
| светофильтр зелёный | |||
| световой модуль (сигнальная лампа) | |||
| 2 | ![]() |
Функциональная группа в составе: | |
| светофильтр зелёный | |||
| световой модуль (сигнальная лампа) | |||
| 3 | ![]() |
Функциональная группа в составе: | |
| переключатель с фиксацией (селектор), 3 положения: I — 0 — II | |||
| контактная группа 2НР | |||
30 |
Обозначение: |
||
![]() |
|||
| Место установки | Зона 1, 2 | ||
| Маркировка взрывозащиты | 2ЕхedIICT4 | ||
| Защита от внешних воздействий | IP66 | ||
| Температура окружающей среды | -55˚C до +60˚C | ||
| Номинальное напряжение, В | 240 | ||
| Номинальный ток, А | 10 | ||
| Масса, кг | не более 1,5 | ||
| Позиция | Схема | Описание | |
| 1 | ![]() |
Функциональная группа в составе: | |
| светофильтр зелёный | |||
| световой модуль (сигнальная лампа) | |||
| 2 | ![]() |
Функциональная группа в составе: | |
| светофильтр красный | |||
| световой модуль (сигнальная лампа) | |||
| 3 | ![]() |
Функциональная группа в составе: | |
| переключатель с фиксацией (селектор), 2 положения: 0 — I | |||
| контактная группа 1НР + 1НЗ | |||
31 |
Обозначение: |
||
![]() |
|
||
| Место установки | Зона 1, 2 | ||
| Маркировка взрывозащиты | 2ЕхedIICT4 | ||
| Защита от внешних воздействий | IP66 | ||
| Температура окружающей среды | -55˚C до +60˚C | ||
| Номинальное напряжение, В | 240 | ||
| Номинальный ток, А | 10 | ||
| Масса, кг | не более 1,5 | ||
| Позиция | Схема | Описание | |
| 1 | ![]() |
Функциональная группа в составе: | |
| светофильтр зелёный | |||
| световой модуль (сигнальная лампа) | |||
| 2 | ![]() |
Функциональная группа в составе: | |
| светофильтр жёлтый | |||
| световой модуль (сигнальная лампа) | |||
| 3 | |
Функциональная группа в составе: | |
| светофильтр красный | |||
| световой модуль (сигнальная лампа) | |||





































































